Skip to main content
If you click on a link and make a purchase we may receive a small commission. Read our editorial policy.

Sony files patent for Move controller that heats and cools as you play

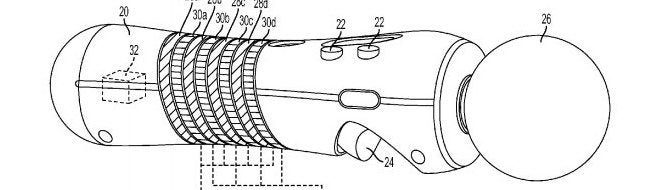
Sony filed a patent this week for a Move controller in which the bands wrapped around it become hot or cool depending on your in-game actions.

According to the patent description, the controller will warm up as your in-game gun overheats. Once the in-game weapon heats up to the point it locks up, the controller will eventually cool, signalling to the player that the weapon is once again operable. Color changes on the controller can also denote the temperature of the in-game weapon.

Another example shown, indicated temperature change while the player was embroiled in battle. Enemy fire or explosions would denote a "thermal grill illusion." The illusion also appeared when the player was hit with an electric shock.

Temperature changes, according to the patent, can also occur when the player is searching for hidden objects in a game. The controller will warm up when the player gets closer to the object, and cool down when they get too far away from it.

The patent also described a "biometric sensor" which cools the controller when "a decrease in galvanic skin resistance" is detected. In other words, the controller will cool down when it picks up on the fact your hands are hot and sweaty. Ick.

You can look over the PDF for the patent here.

Thanks, Kotaku.

Read this next