Skip to main content
If you click on a link and make a purchase we may receive a small commission. Read our editorial policy.

Sony patent shows degradable demos

PS3 demo patent

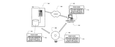
Sony's registered a patent for something known as degradeable demos.

It details how a taster could be the full game itself, with features and levels disappearing over time or depending how far you've got along with play.

A couple of examples given by SCEA, who registered the patent, shows how strong a weapon can be, before degrading over time to a weaker weapon.

Another one shows race tracks being removed one-by-one, depending on the progress made in the demo. Once you the full game, however, you can gain back whatever features that degraded in the taster.

Thanks, Siliconera.

Read this next