PlayStation 5's Controller Might Have Rear Paddles, and That's Incredibly Exciting
In time, you will join me in the sun. Paddles will help you accomplish wonders.
This article first appeared on USgamer, a partner publication of VG247. Some content, such as this article, has been migrated to VG247 for posterity after USgamer's closure - but it has not been edited or further vetted by the VG247 team.
When I was a kid, the general rule is you always wanted to avoid the third-party controller. Everyone had at least one, and it was a fight to make sure you weren't the one stuck with it. Compared to official controllers, they felt cheap even while they offered extra features like turbo modes.
Some of those controllers still haunt the store shelves at GameStop, Wal-Mart, and elsewhere, but there are also premium third-party controllers. I've messed with a few over the generation, including the Scuf Vantage, Astro C40 TR, and the Xbox Elite Series 2. They're all terribly expensive, but also have the build quality to back up that price. The Astro C40 and Xbox Elite have become my go-to controllers; I haven't used a standard DualShock 4 in months.
It's not just the build quality that keeps me from using an official controller. All three controllers I mentioned have paddles, additional buttons that can be programmed to mirror other controller functions. I place them in the same mental category as the programmable thumb buttons on some mice. Their positioning takes a little getting used to, as they're located on the rear of the controller just inside the grip. You press them with your middle fingers, while your two bottom fingers retain your hold on the controller itself. Once you incorporate them into your controller muscle memory, they're amazingly useful.
I started small, binding the analog button clicks (L3 and R3) to the paddles whenever possible. I dislike having to hold a stick inward to press these buttons, and many games use the analog stick click for running, which feels cumbersome. With the paddles, sprinting is right there at my fingertips. Much better. Then I started getting more inventive. With the Xbox Elite Series 2, I have multiple game profiles saved in the Xbox operating system. The paddles are shifters in Forza Horizon 4 or sprinting and melee in Gears 5.
They're also excellent options in terms of accessibility. They're not a freeform as Microsoft's Adaptive Controller for Xbox One, but they at least finds some space for those that are unable to hit certain buttons, like the aforementioned analog clicks.
Now I can't live without paddles. They seem like such a small addition, but in reality, they're a complete game changer.
Luckily, at least one platform holder is making it so I won't have to look to third-party anymore. Last month, Sony announced the DualShock 4 Back Button Attachment, an additional peripheral for the official PlayStation 4 pad. With the BBA attached, players gain two additional buttons on the rear of the controller. There's also an OLED screen on the peripheral, allowing you to switch between different programmable profiles. You can change on the fly, depending on which game you're playing. At the time, I thought it was exceedingly random for Sony to release a peripheral at the end of the generation.
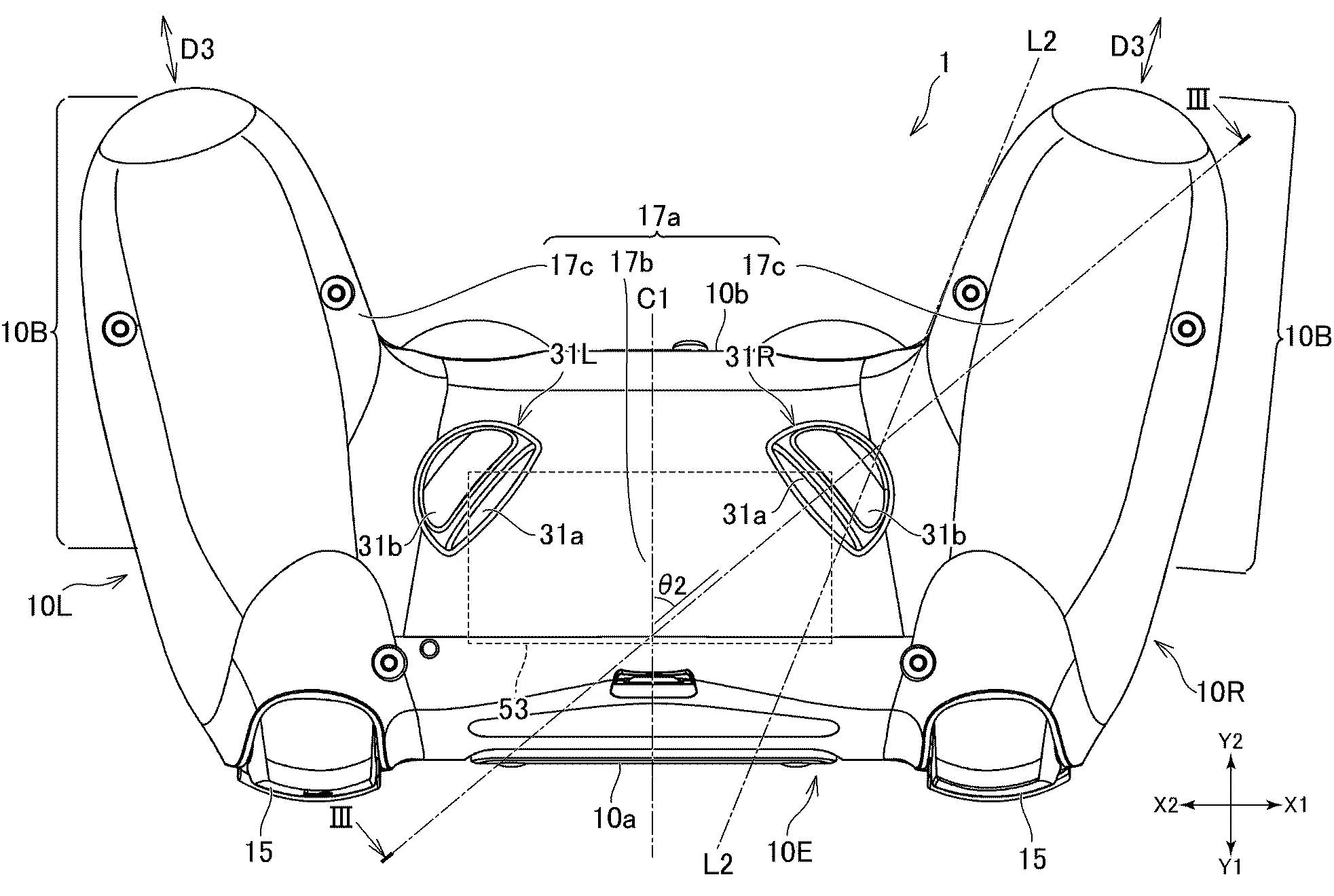
The announcement of the Back Button Attachment was followed by a Sony patent for a new controller, one that looks like the DualShock 4 with additional paddles on the rear. It's likely that this will be the DualShock 5. Though not every patent becomes a reality, it seems Sony is making a slight shift in its overall hardware. Sony and Microsoft have touted backward compatibility as a key feature of their upcoming consoles, but Microsoft has already said that Xbox One accessories will work on the new platform started by the Xbox Series X, which goes an additional step. My guess is the BBA is a move to make the DualShock 4 forward-compatible with the upcoming PlayStation 5, pointing to Sony matching Microsoft in this respect
.More importantly, Sony is taking this excellent third-party feature and incorporating it into the standard controller. The controllers I mentioned before are quite expensive, landing in the $150-200 range. The cheaper Scuf Infinity4PS Pro has a price tag of $140, while jumping to another manufacturer like Evil only brings the price down $120. Not everyone is going to be playing in this space, but at least PlayStation 4 owners have the option to only spend an additional $30 with the BBA.
I admit, this gives me pause, because if the buttons are on every DualShock 5, then developers might want to use them as standard buttons. That would be a mistake. The reason that paddles are fantastic is because you're able to bind another button to that spot. They offer flexibility, and the ability to customize your controls as you see fit. That's becoming more standard across the industry within games, but paddles have offered an additional layer on top of built-in keybindings.
The new Xbox controller from Microsoft has already appeared, and it doesn't have any rear paddles. My expectation is developers won't want to implement with a control scheme on one platform that won't be available on another. In that case, Sony would keep the additional rear paddles on this patented design as programmable buttons. And as I noted earlier, the additional programmable buttons would help with accessibility, making the PlayStation 5 potentially more open than its rival console.
I'm excited to see everyone else come around on paddles. The price makes it unlikely most will ever get a chance to use them, but I find them so integral to my playing experience today. Seeing the Sony patent plastered a huge smile on my face. I want more people to get on my level damnit. Paddles will change your life, I promise.
