Skip to main content
If you click on a link and make a purchase we may receive a small commission. Read our editorial policy.

Sony VR controller patent features finger-tracking similar to Valve Index

A new patent from Sony has surfaced for a VR controller with features similar to Valve Index.

These similar features for the VR motion controller patent include finger tracking, a hand strap and what appears to be an analog stick.

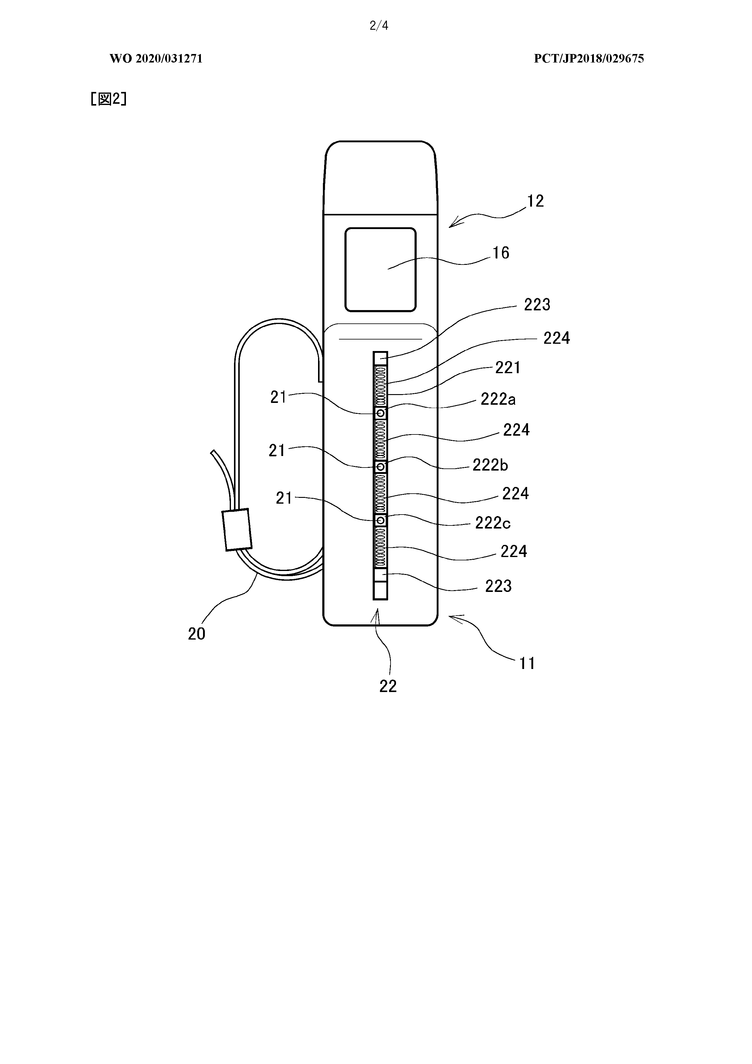
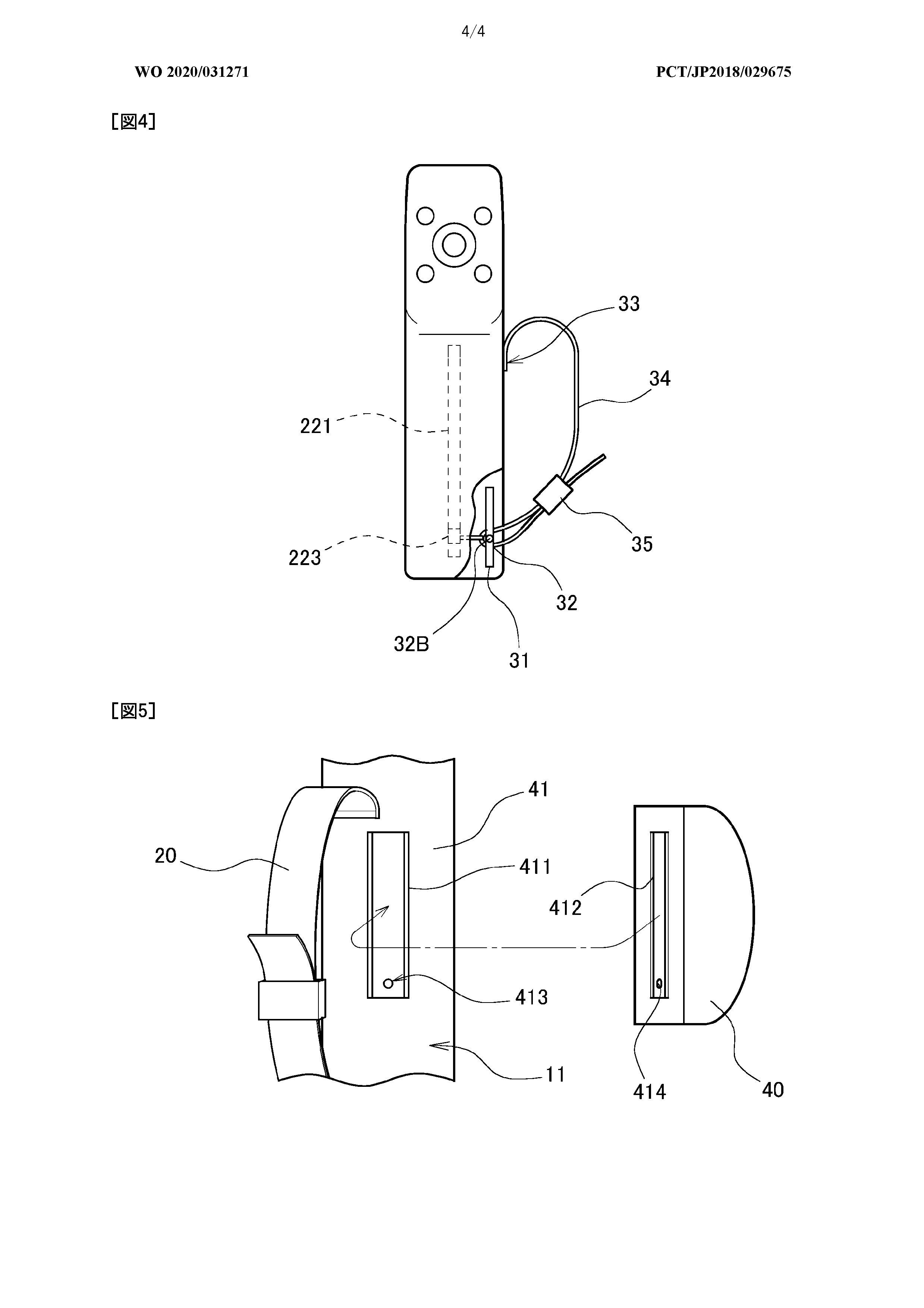
The patent, spotted by 91mobiles, states the device is worn instead of held and includes a "plurality of sensor units" which detects fingers and a "sensor support part" that supports the sensor units.

The sensor support part "supports the sensor units" so that the distance between the sensor units can be changed depending upon the size of the user's hand. Sony states in the outline it is "desired that the user can adjust the positional relationship between the sensor and the finger according to the size of his or her hand."

As noted by Upload VR, the finger sensors are similar to Valve's Index controllers and those on the Oculus Touch controller.  When the fingers are detected, the controller denotes the user making a fist or grabbing an object. If a finger isn't over the sensor, the device assumes the user has extended outward.

The front of the controller has four buttons and what appears to be an analog stick or possibly a fifth button. This makes the device much different from the PlayStation Move controllers used with the current PSVR and more in line with what's currently available on the market for VR controllers used with PC.

It's worth noting this is just a patent, and is subject to change or not be released at all.

Sony hasn't announced a new PSVR model or controllers as the company's main focus for the moment, we assume, is PS5 which releases this holiday.Here is everything we know about the console so far.

 

 

 

 

 

Read this next